Электропривод belimo LM-230 A
Электропривод без возвратной пружины предназначен для управления воздушными заслонками и клапанами.
Технические характеристики электроприводов без возвратной пружины
|
Тип привода |
Номинальное напряжение, В |
Крутящий момент, Н·м**** |
Площадь заслонки, м²**** |
Потребляемая мощность, при вращении/в состоянии покоя, Вт |
Управление |
|
LM230A |
220 |
5 |
1 |
1,5/0,5 |
Открыто/закрыто или трехпозиционное |
* Подбор электропривода осуществляется по крутящему моменту и площади поперечного сечения заслонки.
** Вспомогательный переключатель: 1 однополюсный, 1 мА…3(0,5) А, 250 В~(настраивается 0 ... 100%)
*** Площадь заслонки указана справочно. При выборе электропривода необходимо учитывать также величину необходимого крутящего момента.
Принцип действия (для моделей LM24A-SR, NM24A-SR, SM24A-SR, GM24A-SR). Электропривод управляется стандартным управляющим сигналом 0…10 В=. Он открывается до положения, продиктованного сигналом. Измеряемое напряжение U позволяет отображать действительное положение электропривода электрическим способом, а также управлять другими электроприводами.
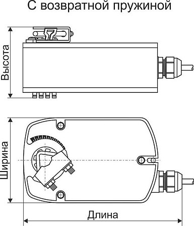
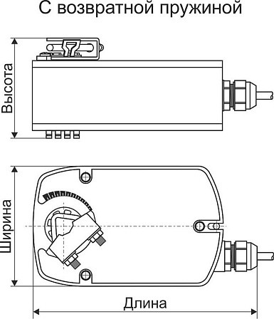
Установка. Простая установка непосредственно на вал заслонки при помощи универсального захвата, снабжается фиксатором, предотвращающим вращение корпуса электропривода.
Ручное управление. Возможно ручное управление при помощи кнопки с самовозвратом (при нажатой кнопке редуктор выводится из зацепления).
Надежность. Электропривод защищен от перегрузки, не требует конечных выключателей и останавливается автоматически при достижении конечных положений.
Электрическая схема подключения
